近日,企查查APP信息显示,曾被央视3·15晚会点名的湖南闪充智行科技有限公司发生工商变更,注册资本由1亿元人民币增至2亿元人民币,增幅达100%。这一变动距离其上次增资仅过去半年时间,引发市场对该企业后续发展及租赁电动车行业规范的关注。


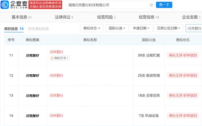
闪充智行成立于2024年5月,法定代表人为文玲。公司经营范围广泛,涵盖技术开发、租赁服务、电动自行车销售、新能源汽车换电PG电子官方网站 PG电子网址设施销售、充电桩销售等,由海南讯能威科技有限公司、湖南通电科技有限公司共同持股。企查查信息同时显示,该公司此前申请的多枚“闪充智行”商标已被驳回,知识产权布局遭遇挫折。

此前,央视315晚会聚焦租赁电动自行车行业,曝光了行业内存在的诸多乱象,其中闪充智行被点名。晚会指出,部分租赁电动自行车企业在追求经济利益的过程中,忽视了产品质量和安全标准,导致大量性能超标、存在安全隐患的电动自行车流入市场。这些车辆在最高车速、整车质量等关键参数上远超国家标准,不仅严重威胁到骑行者的生命安全,也对道路交通秩序造成了极大的破坏。
以闪充智行为例,其投放的租赁电动自行车可能存在刹车不灵敏、电池质量不过关等问题。在高速行驶过程中,刹车失灵可能导致严重的交通事故;而质量不佳的电池则可能引发火灾等安全隐患,给消费者和社会带来巨大的损失。
此次闪充智行在315曝光后增资至2亿元,其背后的意图引发了市场的诸多猜测。一方面,增资可能意味着闪充智行试图通过增加资金投入来改善自身的经营状况,加强在车辆研发、质量检测、售后服务等方面的投入,以提升产品质量和服务水平,重塑企业形象,重新赢得消费者的信任。另一方面,增资也可能是为了满足企业进一步扩张的需求,扩大PG电子官方网站 PG电子网址市场份额,提升行业竞争力。然而,闪充智行在增资后面临的挑战也不容小觑。如何解决此前被曝光的质量安全问题,是闪充智行亟待解决的首要问题。
闪充智行的事件并非个例,它反映了整个租赁电动车行业在快速发展过程中存在的普遍问题。近年来,随着共享经济的兴起,租赁电动车行业迎来了爆发式增长,但同时也暴露出了一系列问题,如车辆质量参差不齐、运营管理混乱、安全保障措施不到位等。对此,市场监管部门相关负责人表示,将持续加强对租赁电动自行车行业的监管力度,建立常态化检查机制,对违规经营行为保持高压态势。同时,呼吁企业切实履行主体责任,严格按照国家标准投放车辆,加强车辆日常维护和管理,保障消费者合法权益。
业内专家建议,租赁电动车企业应以此为契机,加大在车辆安全技术、运营管理体系等方面的投入,通过技术创新和服务升级提升核心竞争力。同时,行业协会应发挥自律作用,推动建立统一的行业标准和规范,促进行业健康有序发展。
此次闪充智行增资事件为租赁电动车行业敲响了警钟,在追求经济效益的同时,企业必须重视产品质量和安全,遵守法律法规,实现合规化发展。只有这样,才能在激烈的市场竞争中立于不败之地,推动整个行业朝着更加健康、有序的方向发展。
特别声明:以上内容(如有图片或视频亦包括在内)为自媒体平台“网易号”用户上传并发布,本平台仅提供信息存储服务。
广东一男子故意伸腿绊女服务员,致面汤洒顾客身上,面馆老板发声:曾多次滋扰其他顾客,还曾骚扰年轻女孩
霍尔木兹海峡最后期限将至,特朗普称伊朗停火提议“意义重大”但“还不够好”
AI互联下半场爆发:CPO+OCS双风口共振,5家核心供应商投资逻辑全解析
70岁米歇尔求婚小他17岁的巩俐:我年入5亿,嫁给我!巩俐:我每周做4次有氧运动,你行吗?
清明小长假收官 上海文旅接待游客超739万人次,踏春赏樱、游乐园成市民游客出行首选